E3602 HF-Generator


Bild "Nordmende Experience:E3602-640.jpg"

BeschreibungTechnische Daten  
Ein HF-Generator mit vielseitigen Anwendungs-
möglichkeiten in der Radio-, UKW- und
Fernsehtechnik.

Der breit ausgelegte Frequenzbereich erfaßt,
in 8 Bereiche unterteilt, lückenlos die
Frequenzen von 149 kHz - 350 MHz.
Die Bereiche 1 ... 7 arbeiten auf der Grund-
welle, der Bereich 8 im Oberwellenbereich.

Das Gerät kann unmoduliert oder mit 400 Hz
in Amplitudenmodulation betrieben werden.

Am NF-Ausgang steht eine Meßfrequenz von
400 Hz zur Verfügung. Beide Ausgänge sind
mit einem Trennkondensator (max. 500 V=) versehen.

Für den Batteriebetrieb ist eine 9V-Meßbatterie
erforderlich, es kann aber auch über den
Extern-Anschluss an der Rückseite des Gerätes
ein Netzspeisegerät angeschlossen werden.
Frequenzbereiche:
    150,0 kHz ... 440,0 kHz
    440,0 kHz ... 1,2 MHz
    1,2 MHz ... 3,4 MHz
    3,4 MHz ... 10,2 MHz
    10,0 MHz ... 33,0 MHz
    30,0 MHz ... 70,0 MHz
    55,0 MHz ... 150 MHz
    110,0 MHz ... 300 MHz
          +/- 0,5 ... +/-1,5%
Einstellgenauigkeit:     +/- 1%
HF-Ausgangsspannung:
    ca. 100 mV bei Ra = 75 Ohm
NF-Ausgangsspannung: 1V eff. - 400 Hz
Betriebsspannung:
    Meßbatterie 9V oder extern über
    Netzgerät, Strombelastung ca. 5 mA
Abnessungen:
    B 240 H 140 T 100 mm
Sonstiges:
    Standard Zubehör ohne Batterie

Bedienungsanleitung E3602 mit Dank dafür an Rainer DC6LB!
E3602 im radiomuseum.org   Diskussion im Dampfradioforum   Beitrag vom Saarfranzosen

Bild "Nordmende Experience:E3602-moduliert-320.jpg"
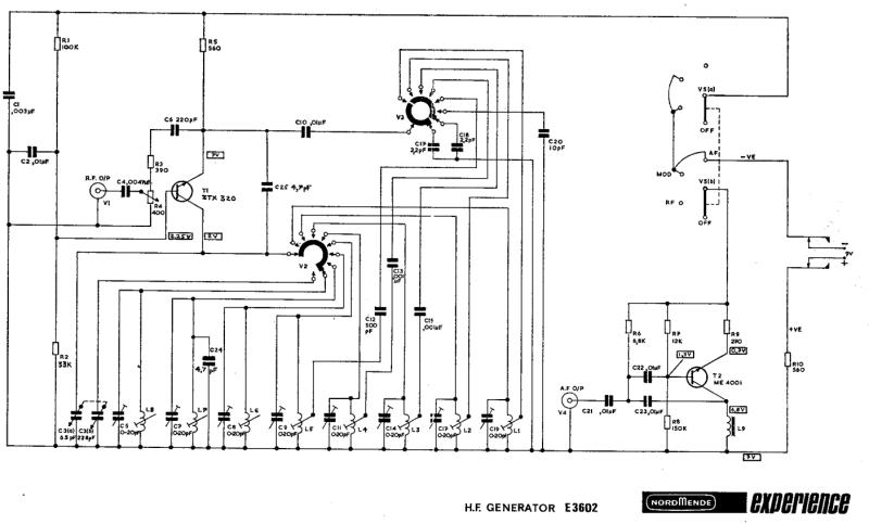
Dieser HF-Generator wurde von Nombrex in England als Model 42 gebaut und unterscheidet sich im Design der Frontplatte. Die Schaltung enthält nur zwei Transistoren. Je einen für den HF-Oszillator und einen für den Modulationston. Das nebenstehende Foto zeigt den recht geringen Modulationsgrad und das unten stehende Schaltbild die trickreiche Modulation über den Widerstand R10 in der Masseleitung der Spannungsversorgung.
Bild "Nordmende Experience:Model31-sch.jpg"
Schaltplan vom Vorgängermodell Nombrex 31
Ankllicken für den Schaltplan vom E3602

Update: 05.11.2022